体育资讯11月17日讯 全运会羽毛球男双四分之一决赛全部结束,刘雨辰/冯彦哲、刘阳/刘毅、欧烜屹/何济霆、王昶/谢浩南四队选手挺进四强。
男双半决赛对阵情况如下:
刘雨辰/冯彦哲 VS 刘阳/刘毅
欧烜屹/何济霆 VS 王昶/谢浩南
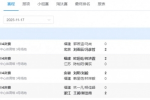
男双四分之一决赛比分详情:
刘雨辰/冯彦哲2-0郭若涵/马尚
欧烜屹/何济霆2-0陈柏阳/黄荻
刘阳/刘毅2-0刘阳/刘毅
王昶/谢浩南2-0林一凡/杨佳峄
上一篇: 全运会羽毛球女单1/4决赛:陈雨菲险胜张艺曼 晋级四强
下一篇: 祝早日康复!石宇奇社媒:只想说八个字__,__!请大家放心!
NBA活塞vs湖人
尤文图斯vs都灵现场直播
英超桑德兰vs水晶宫直播
阿斯顿维拉vs伯恩茅斯数据
四川vs北京
沃尔夫斯堡勒沃库森今日比赛直播
勇士国王今日赛事
NBA鹈鹕vs快船直播